|
 優量精品系列: |
|
|
優量更多的電磁流量計系列產品: |
|
| |
油品流量計|柴油流量計|齒輪流量計 |
油品流量計(柴油流量計、齒輪流量計)
(具有國家認可的油品流量計制造資質,中國最具有影響力油品流量計的廠家之一)
計量器具生產許可證: 蘇制02000305號 |
一、油品流量計用途
油品流量計是用來測量液體流量的精密儀表。流量計可以選用不同的材料(鑄鋼、不銹鋼和316)制造,適用于化工、石油、醫藥、電力、冶金和食品等工業部門的流量計量工作。帶發訊流量計能與本廠的流量積算儀等儀表配套,便于集中檢測,輸出標準信號,作自動控制和數據處理等用,并可直接與計算機聯網。
本產品執行中華人民共和國專業標準JB/T9242-1999,該系列流量計是我廠根據市場需要,研制成功的流量計。該產品設計新穎,結構合理。具有重量輕、精度高特點,廣泛應用于各種油品及低腐蝕性介質的計量。
1、要構件材料及使用壓力(使用壓力1.0MPa 1.6MPa)
2、準確度等級:0.5級,0.2級(一般介質溫度-10℃ ~ +60℃)
3、遠傳顯示現場防爆等級:Exia II CT5
4、使用介質溫度:-20℃ ~ 100℃,在高溫調整加散熱筒情況下,可達200℃,此時流量范圍中最大流量為原流量計最大流量的90%,最小流量為原流量計最小流量的120%。
5、流量范圍 m3/h
|
二、油品流量計的優勢
1、測量精度較高;讀數清晰。
2、機構簡單、堅固、運行可靠;
3、特別適合于測量粘度較高的介質,而且對被測量液體粘度的變化不敏感;粘度適應性強,能測高溫、高粘度液體。
4、安裝容易。流量計前后不需直管段,即使流量計靠近閥門、彎管、縮管、擴大管,也無需加裝直管段。
5、質量和體積兩種計量單位顯示方式, 可置入密度和系數。此外,流量計還可以利用稱重法對儀表密度系數進行現場標定,該功能特別適合植物油、潤滑油、醫藥及化工行業的使用要求。
6、配485總線等通訊模塊,實現了與計算機的聯網,方便進行集中監控 |
|
三、油品流量計工作原理及結構
1、工作原理
本流量計屬容積式流量計,主要部分是計量箱和裝在計量箱內的一對橢圓齒輪,它們與蓋板構成一密封的初月形空腔,作為量具。流量計進出口處的壓力差推動橢圓齒輪旋轉。流體經初月形空腔計量后而排出,所以橢圓齒輪每旋轉一周可輸出4倍初月形空腔的容積。因此,橢圓齒輪轉數與流體的流量成正比。
2、結構:
流量計主要由本體、一對橢圓齒輪、磁性聯軸器、調整齒輪、計數器及發訊裝置組成(流量計內部結構參見附流量計整機解體圖和零部件名稱表)。
流量計的本體分單體和雙體兩種,單體即殼講量箱為一體:雙體即殼體和計量箱為兩體。
橢圓齒輪的轉數,通過磁性聯軸器和一系列齒輪組成的減速機構,傳到表頭計數器。磁性聯軸器主要由主動磁鋼和從動磁鋼組成。采用磁性聯軸器可以提高流量計的工作壓力和工作溫度,操作安全,減輕維修工作。 |
|
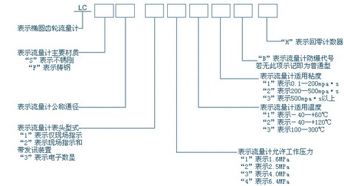
四、油品流量計型號選擇
|
五、技術特性
主要技術性能:①允許基本誤差(%):±0.2、±0.5;②重復性誤差(%):0.2級為0.07、0.5級為0.17;③允用工作壓力(Mpa):1.6、2.5、4、6.4;④被測介質溫度(℃):-10~+60、-40~+120、100~200、200~350;⑤被測介質粘度(Mpa·s):0.1~200、200~500、500以上;⑥防爆等級:dⅡBT4(說明:本廠的信號遠傳流量計分普通型和防爆型);⑦管管法蘭標準:HG20592-90、JB/T79.1-9.4;⑧流量計的主要材質:不銹鋼、鑄鋼、316(即0Cr17 Ni12 Mo2)。 |
規格和流量范圍
▲流量計流量范圍(0.5級流量計)見下表 |
公稱通徑(mm) |
流量范圍(m3/h) |
0.1~0.6mpa·s |
0.2~2mpa·s |
2~8mpa·s |
8~200mpa·s |
200~500mpa·s |
10 |
0.1~0.3 |
0.1~0.4 |
0.04~0.4 |
0.025~0.4 |
0.015~0.25 |
15 |
0.45~1.4 |
0.45~1.8 |
0.18~1.8 |
0.12~1.8 |
0.072~1.2 |
20 |
0.75~2.4 |
0.75~3 |
0.3~3 |
0.2~3 |
0.12~2 |
25 |
1.5~4.5 |
1.5~6 |
0.6~6 |
0.4~6 |
0.24~4 |
40 |
3~12 |
3~15 |
1.5~15 |
1~15 |
0.6~10 |
50 |
4.8~18 |
4.8~24 |
2.4~24 |
1.6~24 |
1~16 |
80 |
12~45 |
12~60 |
6~60 |
4~60 |
2.4~40 |
100 |
20~75 |
20~100 |
10~100 |
6.5~100 |
4~65 |
|
▲化學液體
①潤滑性良好且無腐蝕性的液體;②腐蝕性弱的常溫的化學藥品水溶液;③無腐蝕性低粘度的液體;④潤滑性惡劣、粘度極低的液體;⑤強酸及氧化物液體;⑥高粘度液體。 |
通
徑 |
最大流量(m3/h) |
最小流量(m3/h) |
組別 |
0.1~0.6
mpa·s |
0.6~2
mpa·s |
2~8
mpa·s |
8~200
mpa·s |
>200
mpa·s |
A |
B |
C |
D |
E |
F |
60℃
以下 |
60-120℃ |
120℃
以上 |
120℃
以下 |
120℃
以上 |
120℃
以下 |
120℃
以上 |
120℃
以下 |
120℃
以上 |
|
10 |
0.44 |
0.4 |
0.35 |
0.3 |
0.2 |
0.4*a |
0.09 |
0.097 |
0.103 |
0.08 |
0.12 |
0.065 |
0.098 |
0.05 |
0.07 |
|
15 |
1.92 |
1.8 |
1.44 |
1.03 |
0.72 |
1.8*a |
0.4 |
0.43 |
0.46 |
0.36 |
0.54 |
0.3 |
0.46 |
0.24 |
0.36 |
0.12 |
20 |
3.5 |
3 |
25 |
2 |
1.2 |
3*a |
0.68 |
0.79 |
0.89 |
0.6 |
0.8 |
0.4 |
0.5 |
0.4 |
0.6 |
0.2 |
25 |
6.5 |
6 |
5 |
4 |
2.5 |
6*a |
1.4 |
1.6 |
1.8 |
1.2 |
1.8 |
0.8 |
1 |
0.8 |
1.2 |
0.4 |
40 |
16 |
15 |
13 |
11 |
6.5 |
15*a |
3.4 |
4 |
4.5 |
3 |
4 |
2 |
2.5 |
2 |
3 |
1 |
50 |
26 |
24 |
20 |
16 |
10 |
24*a |
5.4 |
6 |
7 |
4.8 |
6 |
3.2 |
4 |
3.2 |
4.8 |
1.5 |
80 |
66 |
60 |
50 |
40 |
25 |
60*a |
13.5 |
16 |
18 |
12 |
16 |
8 |
10 |
8 |
12 |
4 |
100 |
110 |
100 |
80 |
60 |
40 |
100*a |
22 |
25 |
29 |
20 |
25 |
14 |
16 |
14 |
40 |
6 |
|
注:
1、高粘度液體(20mpa·s以上為F組)的最大流量乘以下列系數就得:
最大流量 |
粘度(mpa·s) |
0.2~4 |
-6 |
-10 |
-20 |
-40 |
-60 |
-100 |
流量系數(a) |
0.6 |
0.5 |
0.4 |
0.3 |
0.2 |
0.16 |
0.12 |
|
2、高溫液體(100-200℃)的最大流量乘以下列系數0.9就得
公稱通徑(mm) |
流量范圍(m3/h) |
0.3~0.6mpa·s |
0.6~2mpa·s |
2~8mpa·s |
8~200mpa·s |
200~500mpa·s |
25 |
1.6~4.5 |
1.2~5 |
1~6 |
0.6~6 |
0.4~4.8 |
40 |
4~11 |
3~13 |
2.5~15 |
1.5~15 |
1~12 |
50 |
6~18 |
5~20 |
4~24 |
2.4~24 |
1.6~20 |
80 |
16~44 |
12~50 |
10~60 |
6~60 |
4~48 |
100 |
25~70 |
20~80 |
16~100 |
10~100 |
6~80 |
|
▲無觸點脈沖發訊器,光電藕合脈沖發訊器
1、輸入電壓:12VDC、24VDC(直流電壓是由本廠配用的二次儀表的穩壓電源或用戶系統內的12V直流電源供給)
2、信號頻率:1000HZ以下
3、信號幅值:≥5V
4、信號波形:近似方波
5、功耗:32mW
6、工作溫度:-20~+70℃
7、環境條件:-20~+70℃、相對濕度≤95%
8、工作電流:≤8mA |
▲發訊儀表系數
公稱通徑(mm) |
10 |
15 |
20 |
25 |
40 |
50 |
80 |
100 |
脈沖當量 |
L/P |
|
0.005 |
0.01 |
0.01 |
0.1 |
0.1 |
0.25 |
0.5 |
P/L |
|
200 |
100 |
100 |
10 |
10 |
4 |
2 |
|
▲誤差與壓力損失曲線
 |
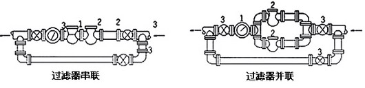
▲重量、外形尺寸及法蘭形式
1、溫度 -10~+60℃,-20~+120℃;法蘭按JB/T79.1標準
公稱通徑
(mm) |
公稱壓力
(Mpa) |
重量(Kg) |
外形尺寸(mm) |
流量計 |
過濾器 |
流量計 |
過濾器 |
L1 |
L2 |
H1 |
H2 |
L3 |
L4 |
H3 |
H4 |
Φ10 |
|
8 |
14 |
150 |
Φ90 |
360 |
50 |
230 |
Φ140 |
251 |
135 |
Φ15 |
2.5 |
12 |
14 |
180 |
Φ120 |
270 |
48 |
230 |
Φ140 |
251 |
135 |
|
2、溫度 -20~+150℃;法蘭按HG20592-97標準(凹凸型)
公稱通徑
(mm) |
公稱壓力
(Mpa) |
重量(Kg) |
外形尺寸(mm) |
流量計 |
過濾器 |
流量計 |
過濾器 |
L1 |
L2 |
H1 |
H2 |
L3 |
L4 |
H3 |
H4 |
15 |
4 |
13 |
14 |
222 |
Φ170 |
270 |
48 |
230 |
Φ140 |
251 |
135 |
20 |
25 |
230 |
Φ170 |
355 |
53 |
25 |
27 |
274 |
Φ170 |
375 |
58 |
6.4 |
33 |
16 |
292 |
Φ200 |
383 |
68 |
252 |
Φ155 |
263 |
147 |
40 |
4 |
30 |
14 |
278 |
Φ182 |
408 |
73 |
230 |
Φ140 |
251 |
135 |
6.4 |
36 |
38 |
308 |
Φ200 |
420 |
93 |
310 |
Φ205 |
380 |
244 |
50 |
4 |
80 |
36 |
420 |
Φ320 |
500 |
140 |
305 |
Φ205 |
380 |
254 |
6.4 |
85 |
40 |
440 |
Φ330 |
505 |
145 |
320 |
Φ205 |
385 |
256 |
80 |
4 |
98 |
50 |
475 |
Φ375 |
548 |
162 |
382 |
Φ250 |
431 |
255 |
6.4 |
105 |
55 |
518 |
Φ400 |
554 |
173 |
400 |
Φ270 |
445 |
265 |
100 |
4 |
130 |
100 |
485 |
Φ375 |
666 |
240 |
464 |
Φ286 |
550 |
282 |
|
六、安裝要求
▲機械安裝
安裝流量計,應盡量選擇灰塵少、腐蝕性氣體少、無強烈振動、距熱源較遠的地方。安裝流量計外環境溫度不能高于60℃。流量計必須水平安裝(指橢圓齒輪轉軸水平位置),即流量計的刻度盤垂直地面。 |
|
|
▲線路安裝
信號遠傳流量計內裝有無觸點脈沖發訊器。在安裝時,必須進行正確的線路連接。
普通環境用發訊流量計的線路連接
1、帶發訊器表頭的引出孔為M16×2螺孔。
2、流量計與二次儀表之間采用兩根導線連接,導線截面積不小于1mm2,傳送距離小于1000m。
3、發訊器引出的紅色線接正極(高電位),另一引線接負(低電位)。 |
▲防爆環境用發訊流量計的線路連接
1、選擇線芯截面積為1mm2的BX型三芯電纜或CHQP型三芯電纜接線。一般用鋼管布線。用鋼管布線時,壓緊螺母與鋼管的連接端為M22×1.5內螺紋;
2、拆下防爆發訊器蓋接線,注意不能損壞隔爆接合面;
3、接線時,由二次表后板的接線端子“輸入”接出,正、負極不能接錯。第三線為接地線,接發訊器內腔的接地符號;
4、外殼接地;
5、選用三芯電纜時,拆下壓緊螺母,裝上防止電纜脫落裝置。 |
七、使用要求
流量計啟動前的操作
流量計和脈沖發訊器安裝好后,讓流體慢慢地通過水平安裝的旁路管道或垂直安裝的主路管道,以清理管道中的雜質。
▲常溫使用時的啟動過程
在啟動流量計時,應先開旁路管道的閥門,后緩慢地開啟流量計前的入口閥門,再緩慢地開流量計后的出口閥門,最后逐步關閉旁路閥門。用出口的閥門控制流量在流量計流量上限的70%以內為佳。
計算流量的方法是用秒表測量指針正常旋轉一周的時間,按下式計算:

在使用中千萬不能驟然打開出口閥門,這樣會使流量計突然快速旋轉,可能損壞部件。
▲高溫使用時的啟動過程
預熱,凡介質溫度與環境溫度相差50℃時,啟動流量計前須對流量計預熱。預熱時間按式中:
 |
T代表預熱時間,小時;D代表流量計通徑,mm;T0代表環境溫度℃,計算。
高溫使用時的啟動程序
1、在流量計前后的閥門關緊的情況下,逐步打開旁路閥門,至管道溫度達到工作溫度,穩定才能全開旁路閥門。
2、在旁路閥門全開和流量計出口閥門全關閉時,慢慢打開流量計前的入口閥門,按計算的預熱時間對流量計預熱,當流量計殼體的溫度穩定后,全開入口閥門。
3、在旁路閥門和流量計的入口閥門全開的狀態下,將流量計出口端閥門打開約5%,使流體剛剛通得過流量計為宜,這時,若流量計的轉子被卡住不轉,或者發出噪音,切勿變化出口閥門的開度位置。在流量計內部的溫度完全穩定和轉子正常運轉之前,不能進一步開大出口閥門,避免流量計出現永久性損壞。
4、當流量計的轉子運轉正常后,逐步開大流量計出口端的閥門,達適宜為止。
5、在流量計前后的閥門開啟完畢后,逐步關閉旁路閥門。
注意:流量計每次從常溫升至65℃以上的工作溫度時,必須按照上述啟動程序操作。 |
八、故障分析與排除
流量計運動中可能發生故障。其故障現象及原因和處理方法見下表:
現象 |
原因 |
處理方法 |
備注 |
橢圓齒輪不轉 |
1、管道中有雜物
2、過濾器損壞
3、由于流量過大,軸承磨損 |
1、清洗流量計及管道,過濾器
2、更換軸承 |
1、新安裝開車時易發生
2、流量不能太大 |
橢圓齒輪轉動,指針不動或時走時停 |
1、轉動部分松動
2、磁聯軸器滑動
3、齒輪部件卡住 |
1、重新緊定緊固件
2、磁聯軸器是否靈活
3、排除齒輪部件的故障 |
|
流量計負誤差大 |
1、旁路閥門滲漏
2、計量室內壁、軸承遭磨損或腐蝕
3、流量低于下限
4、磁聯軸滑動 |
1、檢查旁路閥門
2、更換軸承,檢查齒輪
3、增大流量
4、更換磁聯軸器或齒輪系統
5、檢驗介持作粘度修正 |
修理后重新調整檢查 |
流量計正誤差大 |
1、流量有大的脈動或含有氣體
2、檢驗介質粘度不符 |
1、減少流量脈動或增加氣體分離器
2、檢驗介質作粘度修正 |
修理后重新調整檢驗 |
二次表指示值多于一次表指示值 |
發訊葉片振動 |
適當調整阻尼片對葉片的壓力 |
|
二次表指示值小于一次表指示值 |
1、發訊葉片處的緊定螺釘松了
2、發訊器掉步 |
1、緊固緊定螺釘
2、調整發訊葉片與發訊器間的間隙
3、用酒精清洗發訊器接口 |
|
二次表不指示 |
1、開路或短路
2、發訊器損壞 |
1、查線路
2、更換發訊器 |
|
|
九、產品保養維修
▲流量計的維護保養應注意
1、流量計在使用時,要經常檢查溫度、壓力和流量是否在規定范圍內;指針轉動是否正常,壓力損失是否穩定,壓力損失是否過大,顯示儀表是否正常顯示。
2、經常檢查過濾器的使用情況,定期清洗過濾器;
3、被測介質含有氣體時,流量計前應安裝氣體分離器,以免引起測量誤差;
4、嚴禁掃線蒸汽通過流量計,避免損壞流量計;
5、對于計量冷凝介質,再啟動流量計時,必須預熱流量計(本體至上蓋一段);當流量計內的介質變為工作狀態的液體時,才能再啟動流量計。
▲定期對流量計進行檢修和檢驗
1、定期對流量計進行檢修,及時發現磨損零件,排除故障陷患; 2、如果用戶用水檢定裝置檢定流量計,檢定后須倒出流量計內的水,灌入機油掛壁防銹;
▲流量計的檢驗和誤差調整
1、檢驗
按JJG667-1997《溶積式流量計>檢定規程》檢定流量計。
2、誤差調整
流量計的允許基本誤差為±0.2%、±0.5%。
其計算按下式:
 |
為了使流量計在出廠時或在使用過程中保證流量計的準確度,在流量計的計數器內設有傳動比的調節裝置——調整齒輪。在誤差檢驗時根據測得的誤差曲線,選擇合適的調整齒輪(見下表),使流量計達到儀表規定的準確度。
1、調整方法舉例如下:
設計的調整齒輪是38/35,檢驗誤差時若示值大與真值,即出現“+”誤差。例如+1.02~+0.3,見誤差調整圖,查調整齒輪表(見下圖),得知選用41/38調整齒輪比較合適,這樣誤差曲線的原點便由38/35 調整齒輪對應的零位上移至41/38調整齒輪對應的+0.63的位置。因而誤差曲線便處于新的坐標系中,即誤差調整至+0.39~-0.33的范圍內,而流量計的準確度達到要求。 |
 |
| 如需更詳盡使用說明書,請來電:0510-82026888 83118288 85051088 |
| |
 優量精品系列: |
|
|
優量更多的電磁流量計系列產品: |
|
| |
關于優量電磁流量計及其他精品系列產品更多資訊: |
|
|
|
|
|
|
|
|
|
|
|
|
|
|
15.更多問題,請致電服務熱線:0510-82026888 |
|
| |
| |